The goal of prismadiagramR is to create a custom prismadiagram in R.
You can install the released version of prismadiagramR from CRAN with:
install.packages("prismadiagramR")And the development version from GitHub with:
# install.packages("devtools")
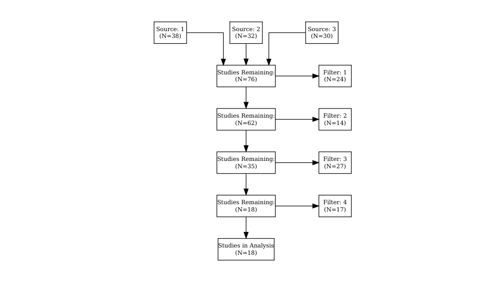
devtools::install_github("ltrainstg/prismadiagramR")This example shows how to create a simple automated PRISMA from a publication tracker.
set.seed(25)
N <- 100
studyStatus <- data.frame(Pub.ID = seq(1:N),
Source = sample(1:3, N, replace = TRUE),
Filter = sample(1:5, N, replace = TRUE))
studyStatus$Filter[studyStatus$Filter==5] <- NA
getPrisma(studyStatus) %>% DiagrammeR::grViz(.)
#> Warning in getPrisma(studyStatus): prismaFormat is null so attempting to
#> make automatic one from studyStatus
#> Warning in getFormatNode(prismaFormat): fontSize param not passed in
#> prismaFormat
A few other R packages exist that also make PRISMA diagram that might be better for your needs.
This package was developed following these guides: